去创作

用微信扫描二维码

分享至好友和朋友圈

拍拍贷:必须直面一场注定阵痛的合规断腕

作为中国互联网金融领域最早一批入局者,拍拍贷(母公司信也科技)的发展轨迹始终伴随着创新与争议的双重标签。

它曾是P2P网贷浪潮中的弄潮儿,以“纯线上、无抵押”的模式颠覆了传统信贷逻辑,为无数被主流金融机构忽视的小微个体和年轻群体提供了前所未有的信贷便利。

截至2026年初,这家老牌平台在完成从P2P到助贷模式的转型后,其商业逻辑的可持续性正面临前所未有的审视。

一方面,公司保持着强劲的财务数据和市场声量,另一方面,海量的用户投诉、密集的司法诉讼以及监管政策的持续收紧,揭示出其商业模式深处的结构性矛盾。

本文旨在剥离情绪化标签,从盈利模式、合规挑战与转型路径三个维度对拍拍贷的现状进行中性、客观的深度解读。

我们不预设其成败,而是试图厘清在金融监管趋严、科技迭代加速、用户需求升级的三重压力下,这家曾经的“先锋”能否真正蜕变为稳健的“常青树”?

核心盈利模式的演变与争议

作为中国互联网金融的先行者,拍拍贷自2019年完成“助贷平台”的战略转型以来,收入结构也是从单一到复杂,但深入剖析其财务报表就能发现,其信贷本质并未改变。

据信也科技发布的《2025年第三季度未经审计财务报告》,公司在该季度实现总净收入人民币34.87亿元,同比增长6.4%。其中,与信贷服务直接相关的收入占据了绝对主导地位——占净收入比例高达96%。

图片
图片

从其三季报的数据中不难看出,尽管公司对外宣传其“金融科技”、“数字普惠”等多元化标签,但其商业模型的本质并未发生根本性改变,其所有技术投入、流量获取、系统建设,最终都服务于一个核心目标:促成贷款交易,并从中提取价值。

此外,据信也科技的2024年财报数据显示,其担保及相关服务收入已成为最大的利润贡献板块,占比达到39%,一举超越传统的“贷款促成服务费”(即平台撮合交易收取的服务佣金),成为驱动净利润增长的首要动力。

图片

(图源:信也科技2024年财报)

至于信也科技这种“助贷+担保”的模式有何精妙之处,关键在于它巧妙地运用了费用拆分与信息不对称,从而实现了收益最大化。

站在借款人的角度,借款人在拍拍贷平台借款所承担的实际成本,其实远不止于表面的低息,因为在拍拍贷的贷款合同中藏着多项附加费用,如担保费、风险保障金、账户管理费、服务费和保险费等。

这些从借贷业务中收取的费用,正是信也科技的主要利润来源,只不过这种利润来源的定价不透明且常与借款人信用评级挂钩,本质上算是一种风险溢价。

图片

还有数据显示,拍拍贷的平均单笔借款担保费率约为16.8%,而合作资金方的平均放贷利率仅为6.7%,部分案例中的综合年化成本逼近、甚至超过了监管红线。

图片

(图源:拍拍贷借款界面截图)

说到这,想必我们已经理解信也科技的盈利特性了,这也方便后续解读其存在的合规问题。

在信也科技的盈利惯性中,其实是有着一套逻辑的:高费率必然伴随着高风险,而高风险又倒逼出激进的催收需求。

自从信也科技(拍拍贷)从P2P平台成功转型为“助贷+科技服务商”之后,其收入结构便揭示了该平台的商业模式本质。

前文也提到过,担保费是信也科技的主要利润来源,那么其定价必然倾向于收益最大化,而为了支撑如此高的费率,平台必须向资金方输送大量“高风险、某收益”的客户,即那些传统金融机构不愿触碰的“次级客群”。

这部分客群——收入不稳定、负债率高、信用记录薄弱——天然具有更高的违约概率,平台虽不直接承担最终的坏账责任,但作为“风险缓释方”,担保业务的亏损也会直接影响其自身的利润,甚至引发与资金方的结算纠纷。

所以,为了覆盖坏账损失、维持担保业务的盈利能力,平台及其合作的第三方催收机构被迫采取激进、游走于灰色地带的催收手段——暴力催收、骚扰某话、威胁恐吓、泄露隐私等。

图片
图片

(图源:黑猫投诉平台)

合规压力的多维传导

当前,拍拍贷——也就是信也科技所面临的合规压力,已远非传统意义上的“监管检查”或“行政处罚”了,而是受到来自司法、行政与行业规则的联合围剿。

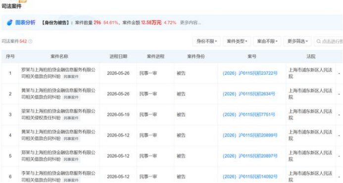
在司法层面,拍拍贷已成为名副其实的“法庭常客”。

据天眼查公开数据,截至2026年初,其涉及的开庭公告数量密集,排期已延伸至2026年4月之后,案件类型以“借款合同纠纷”、“金融借款合同纠纷”、“服务合同纠纷”为主,直指拍拍贷存在息费拆分、虚假利率宣传等问题。

图片

(图源:天眼查)

这些诉讼的意义,或许早已超越了单个案件的胜败,更像是对信也科技业务模式的司法检验。

在行政监管层面,信也科技同样频频“踩雷”。2025年11月,工业和信息化部(工信部)在其官网发布的《关于侵害用户权益行为的APP通报(第XX批)》中,明确点名拍拍贷存在“隐私政策默认同意”、“未显著提示用户授权内容”、“违规收集使用个人信息”等问题。

图片

(图源:工信部关于侵害用户权益行为的APP(SDK)通报(2025年第7批,总第52批))

这一通报虽看似聚焦用户的隐私,实则暴露出拍拍贷在数据合规与风控架构上的根本性缺陷:为了提升审批速度和催收成功率,不惜牺牲用户的隐私权益。

信也科技在财报中宣称的“负责任企业”,与其产品的实际所为反差强烈,这也使其在监管评级和投资者ESG评估中处于不利地位。

当然,最根本、最具颠覆性的冲击,还得是来自监管规则的底层逻辑变革。

2025年10月1日起正式施行的《商业银行互联网贷款管理暂行办法(修订版)》及配套实施细则要求:

商业银行在发放互联网贷款时,必须将包括“增信服务费”、“担保费”、“风险保障金”、“账户管理费”在内的所有费用,全部纳入“综合融资成本”进行统一管理和披露。同时,禁止以任何名义、任何形式将费用拆分、隐藏或转移。

这下子,新规算是直接击中了拍拍贷的命门——“低息贷款表象 + 高额担保费实质”模式。

新规之下,拍拍贷若想严格合规,那么平台必须将16.8%的担保费率与6.7%的放贷利率合并计算,同时向借款人明示借款的真实综合成本,那些综合成本逼近或者超过36%红线的相关合同,也会被判定无效,平台需退还多收款项并支付违约金。

也就是说,其核心利润来源——担保收入——将因定价受限而大幅缩水。

当然,拍拍贷也可以选择维持现状,只是平台如果选择维持现状的话,势必面临监管部门的严厉处罚,如罚款、暂停新增业务、限制合作金融机构名单、吊销相关业务资质等。

其他连锁反应是,合作的资金方(银行/消金公司)出于自身合规压力,将减少或终止与其合作,拍拍贷平台的资金渠道便顺势萎缩,业务规模也会急剧下滑。

转型叙事下的现实挑战

近年来,拍拍贷在公开场合频繁强调其“科技”属性,而为了支撑这一叙事,公司还成立消费者权益保护委员会、推出小微企业纾困计划等社会倡议、发布《消保工作白皮书》等,意在塑造负责任、有温度、重合规的企业形象。

只是深入审视其实际财务表现、资源配置与核心业务结构,不难发现这种“科技化转型”还停留在品牌包装与舆论引导层面,并未真正触及商业模式的根本内核。

拍拍贷的底层逻辑依然是围绕“信贷利差”展开的高风险、某收益运营模式,所谓的“技术赋能”在很大程度上服务于获客效率与催收强度,而非真正的普惠价值创造或技术创新突破。

据《信也科技2025年第三季度未经审计财务报告》,公司在该季度的销售费用是同期研发费用的四倍……表明信也科技相较于技术革新,更倾向于拍拍贷平台的获客转化。

另外,对于信也科技宣称的“轻资产转型”,其实是引入第三方担保机构,以实现风险转移和杠杆突破。

然而,这一“风险代持”的合规性正受到监管部门的关注。

之所以是关注,不是处罚,是因为信也科技不直接放贷,拍拍贷算不上是该公司的放贷平台,更确切的说法是助贷平台。

但信也科技的拍拍贷产品又提供“风险缓释方案”或“履约保障服务”,实际上已经承担了部分信用风险,只不过这种“类担保”的行为,在法律上是否构成“变相放贷”或“联合授信”,尚无明确界定。

同时,在财报和战略规划中,信也科技将“科技服务输出”(Tech-as-a-Service)列为未来增长的重要引擎——然而,现实是,科技服务的收入占比微乎其微。

据2025年第三季度财报,科技服务及其他收入在其总净收入中的占比不足5%……

至此,做一个总结。在监管趋严、用户维权意识觉醒的背景下,信也科技过去依赖规模扩张与利差分润的路径已显疲态,旗下的拍拍贷未来走向,还将取决于公司能否真正实现从“信贷内核、科技外壳”向“技术驱动、合规为本”做出实质性转变。

目前来看,这一过程充满挑战,且尚未看到明确的突破迹象。

更多精彩内容,关注云掌财经公众号(ID:yzcjapp)

以上内容仅供学习交流,不作为投资依据,据此操作风险自担。股市有风险,入市需谨慎! 点击查看风险提示及免责声明
热股榜
代码/名称 现价 涨跌幅
加载中...
加载中 ...
加载中...

二维码已过期

点击刷新

扫码成功

请在手机上确认登录

云掌财经

使用云掌财经APP扫码登录

在“我的”界面右上角点击扫一扫登录

  • 验证码登录
  • 密码登录

注册/登录 即代表同意《云掌财经网站服务使用协议》

找回密码

密码修改成功!请登录(3s)

用户反馈

0/200

云掌财经APP下载

此为会员内容,加入后方可查看,请下载云掌财经APP进行加入

此为会员内容,请下载云掌财经APP加入圈子

云掌财经
扫码下载

更多功能与福利尽在APP端:

  • 精选会员内容实时推送
  • 视频直播在线答疑解惑
  • 达人一对一互动交流
关闭
/